
Los amplificadores de caudal se utilizan junto a los posicionadores para aumentar la velocidad de posicionamiento de los accionamientos neumáticos. Actúan tanto en la aireación como en la desaireación del accionamiento y procuran una abertura o cierre rápido de la válvula.
El amplificador de caudal Tipo 3755 presenta una característica lineal y un comportamiento de transmisión ideal, y se puede adaptar a una aplicación específica de forma fácil y rápida mediante un tornillo de bypass precintable. La ejecución para bajas temperaturas se puede utilizar con una temperatura ambiente de hasta –55 °C.
El Tipo 3755-2 va equipado con una brida de desaireación adicional, pudiéndose descargar el aire de escape por una tubería o devolverlo a la cámara de resortes del accionamiento para su purga. Esta ejecución está disponible en aluminio o acero inoxidable.
En la aplicación estándar el amplificador de caudal se monta entre el posicionador y el accionamiento. Para filtrar el aire de alimentación y asegurar una presión de alimentación constante, el aire de alimentación proviene de un regulador de presión de alimentación. De esta forma, el amplificador de caudal suministra una presión de aire al accionamiento que corresponde exactamente a la señal de presión del posicionador, pero con un caudal mucho mayor.
1 Posicionador – 2 Regulador de presión de alimentación – 4 Válvula de control con posición de seguridad vástago saliendo – 6 Amplificador de caudal
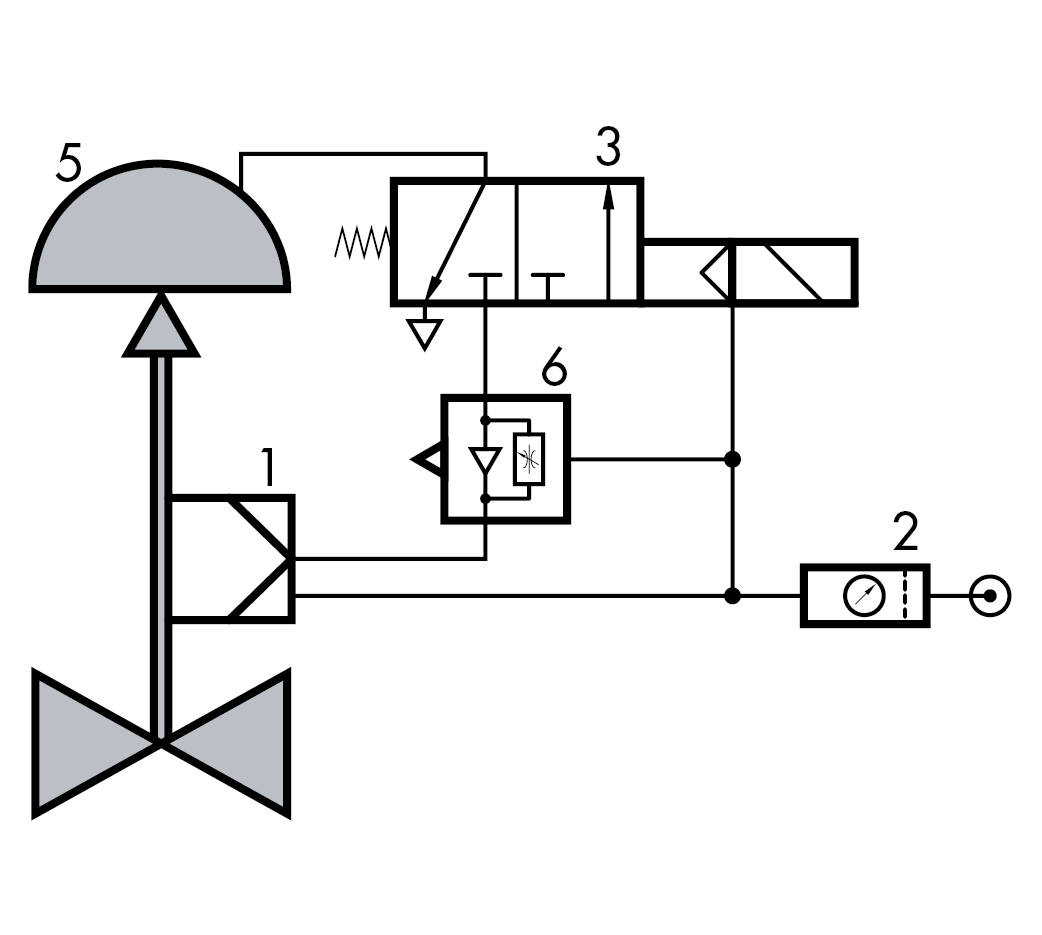
También es posible conectar una electroválvula adicional entre el amplificador de caudal y el accionamiento. Al hacerlo, prestar atención a que el tamaño de la electroválvula sea suficientemente grande para que se pueda utilizar toda la potencia de aire del amplificador de caudal.
1 Posicionador – 2 Regulador de presión de alimentación – 3 Electroválvula – 5 Válvula de control con posición de seguridad vástago entrando – 6 Amplificador de caudal
Los accesorios completan las válvulas de control neumáticas para ofrecer soluciones a casi cualquier aplicación. Desde hace más de 100 años, SAMSON desarrolla y fabrica válvulas, accionamientos y accesorios de alta calidad. Gracias a nuestra experiencia y competencia, así como a los requerimientos del cliente, ha habido un desarrollo continuo de los componentes individuales y se ha optimizado su interacción.
Aquí encontrará más detalles acerca de los accesorios y su conexión: