
Las válvulas de escape rápido sirven para reducir el tiempo de desaireación del accionamiento neumático. La válvula de escape rápido Tipo 3711 se caracteriza por su construcción compacta y su elevada capacidad. La restricción integrada permite adaptarla a los requerimientos de la aplicación, de forma que se puede ajustar el comportamiento de respuesta según se necesite.
Si es necesario el aire de escape se puede recoger en una tubería, y por ejemplo, devolverlo a la cámara de resortes del accionamiento para su purga.
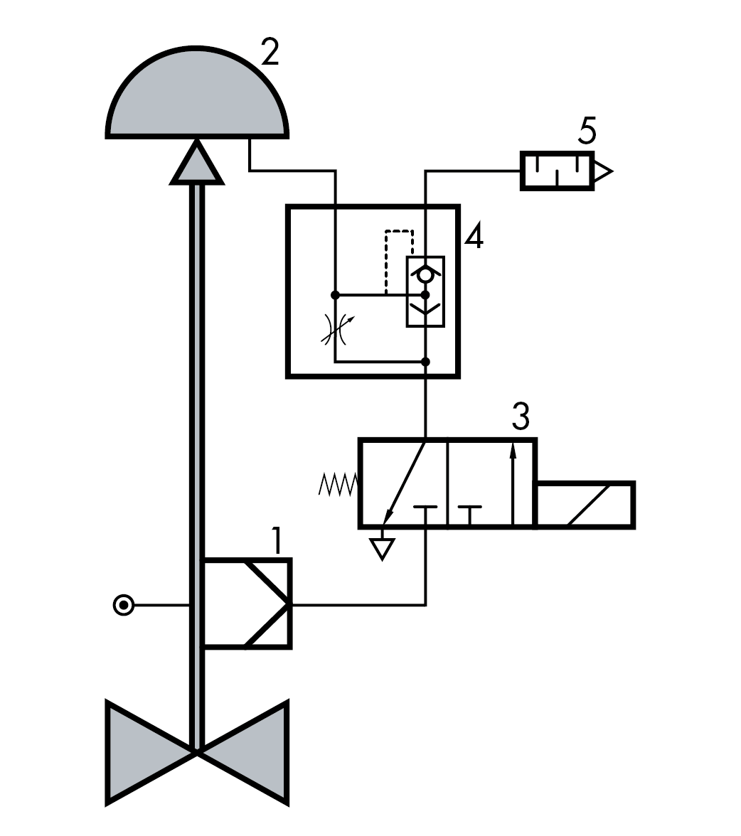
La válvula de escape rápido se intercala entre el posicionador o electroválvula y el accionamiento. De esta forma se amplifica la potencia de desaireación y se garantiza una desaireación rápida del accionamiento.
En el esquema se muestra una conexión estándar con control desde el posicionador y una electroválvula adicional intercalada.
La válvula de escape rápido Tipo 3711 se puede adaptar a los diferentes montajes de válvula y al comportamiento de regulación: la restricción roscada permite un ajuste óptimo del comportamiento de respuesta. Si la válvula de escape rápido tiene que trabajar solo en caso de grandes cambios de señal, se puede abrir la restricción según corresponda. Esto contrarresta la sobrecarga, especialmente a pequeños cambios de señal. El ajuste de la restricción se asegura con una clavija.
1 Posicionador – 2 Accionamiento neumático – 3 Electroválvula – 4 Válvula de escape rápido – 5 Silenciador
Los accesorios completan las válvulas de control neumáticas para ofrecer soluciones a casi cualquier aplicación. Desde hace más de 100 años, SAMSON desarrolla y fabrica válvulas, accionamientos y accesorios de alta calidad. Gracias a nuestra experiencia y competencia, así como a los requerimientos del cliente, ha habido un desarrollo continuo de los componentes individuales y se ha optimizado su interacción.
Aquí encontrará más detalles acerca de los accesorios y su conexión: